Смотреть видео: Расположение канатов в лифтовой системе



Расположение канатов в лифтовой системе - найдено 60 фото

Найдено фото: 60

Трос стальной оцинкованный 1.6 мм ГОСТ 2172-80 в Нижнем Новгороде - цены - Метал
Канатная система с компенсирующими канатами, кратность канатной подвески 1 - Энц
Новый метод монтажа высотных лифтов! - VLKlift
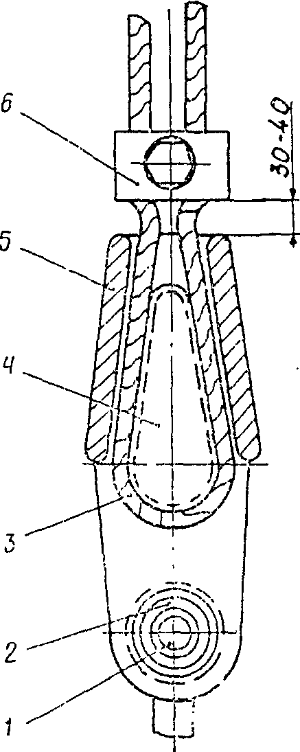
123. Назначение и устройство подвесок кабины лифта и противовеса
Конструкции подвески лифта Компания "Статус Лифт" Дзен Дзен
Кинематические схемы лифтов
Картинки СИСТЕМА РАБОТЫ ЛИФТА
Завершение работ по модернизации лифтов в Москве Авангард-Лифт г.Новосибирск
Лифтовые шахты в Москве: цена установки шахт для лифта и лифтового оборудования
Файл:Elevator hoist ropes on top of Lift car.jpg - Википедия
Монтаж лифтовых лебедок и отводных блоков
Строительные элементы инженерного оборудования зданий
Шахтные клетьевые подъемники
СК РусТехЛифт " Замена канатов на лифтах
Навеска тяговых канатов лифта
Замена тяговых канатов лифта, цена в Москве
Лифтовые подвески
Замена тяговых канатов лифта, цена в Москве
omfattende optager Ungkarl vinčas spoles kinemātiskā piedziņas shēma Få kontrol
Электроприводы грузоподъемных механизмов Классификация судовых ГПМ
Lift_M149_2023
ЛИФТОВЫЕ КАНАТЫ
Канаты и цепи лифтов
Замена лифтовых тяговых канатов при верхнем расположении машинногопомещения
Требования к запасовке, браковке и заплетке канатов. Допускаемые значения. - Кон
Кинематические схемы лифтов
Выбрать Обслуживание гидравлических лифтов в Екатеринбурге недорого
"ВСН 210-80. Инструкция по монтажу лифтов" (утв. Минмонтажспецстроем СССР 24.11.
"ВСН 210-80. Инструкция по монтажу лифтов" (утв. Минмонтажспецстроем СССР 24.11.
Elevator Pulley System
Канаты стальные лифтовые иностранные и российские, в наличии. Цена: 108 ₽ во Вла
ООО "ЖКС № 2 Калининского района"
Полиспастная подвеска лифта
СПОСОБ ЗАМЕНЫ ТЯГОВОГО КАНАТА КАБИНЫ ЛИФТА В ШАХТЕ. Российский патент 2010 года
ЛИФТЫ. Технические условия Архитектура и Проектирование Справочник Дизайн лифта,
Тумба под буфер кабины лифта - Гранд Проект Декор.ру
Оборудование предприятий торговли. Грузоподъемные машины: лифты - презентация он
Ловители это фото, видео - 38rosta.ru
Index of /i/scr/pic
Тяговые канаты лифта. Тросы в лифте. Лифт НЕ работает Дзен
Rope Elevators (with machine room) Elevator Basics TOSHIBA ELEVATOR AND BUILDING
СПОСОБ ЗАМЕНЫ ТРОСОВ ЛИФТА И ЛИФТ. Российский патент 2015 года RU 2553603 C2. Из
Капитальный ремонт: В Москве до конца года будет заменено около 3 тыс. лифтов
Канат (трос) 15мм для лифта с органическим сердечником - купить в Москве недорог
Канаты строительных подъемников
Монтаж компенсирующих канатов и уравновешивающих цепей лифта
Устройство гидравлического лифта. Особенности и цена.
Замена троса лифта ИнТехСервис
Конференция HOPE X. "Взлом лифта: от подвала до пентхауза". Часть 1. "Лифтовое о
Подъемные канаты и тормозные устройства лифта - 16
Разработка и оптимизация системы электропривода скоростного лифта. Дипломная (ВК
Замена тяговых канатов лифта, цена в Москве
"ВСН 210-80. Инструкция по монтажу лифтов" (утв. Минмонтажспецстроем СССР 24.11.
StropSnabKomplekt, lifting equipment, City of Kazan, ulitsa Levanevskogo, 2А - Y
Канат, трос стальной 22.5 мм ГОСТ 3064-80 купить от 340 руб./м в Ярославле от ко
2.3 Виды подъемников
Магнитный пазл 27x18см."Шкив, колеса, шестерни" на холодильник - купить с достав