Смотреть видео: Цтк 1 0 0 25 чертеж



Цтк 1 0 0 25 чертеж - найдено 60 фото

Найдено фото: 60

Восстановленная цистерна ЦТК-5, купить в Екатеринбурге по выгодной цене, доставк
Цистерна восстановленная ЦТК-1,6, купить в Екатеринбурге цистерну по выгодной це
Транспортные цистерны типа ЦТК - Справочник химика 21
Купить цистерну криогенную ЦТК-1,6 от производителя по честной цене в Екатеринбу
Тржк 7у чертеж
Цистерны криогенные СПЕЦКРИОГАЗ
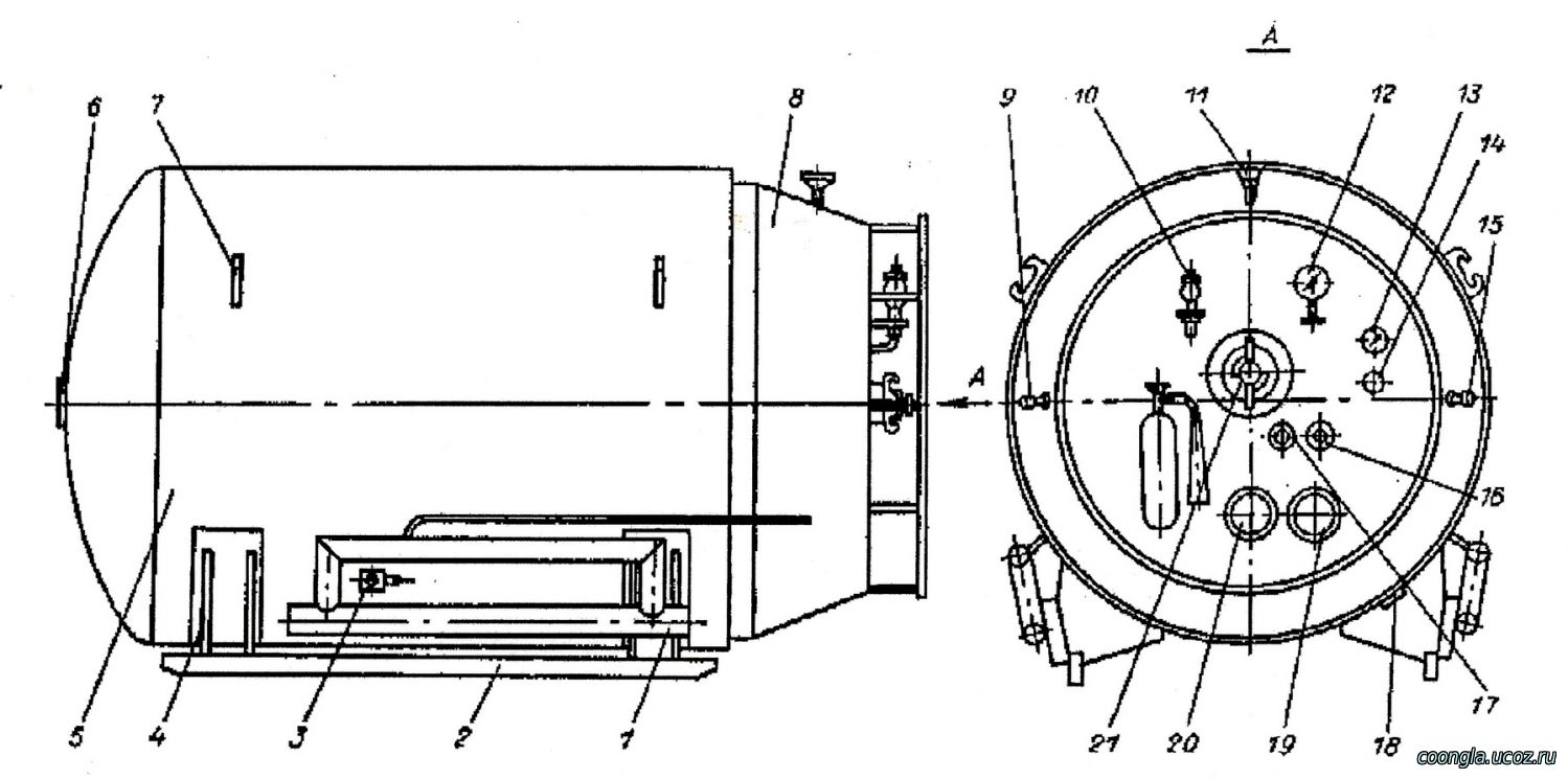
3. Принципиальная схема цистерны цтк- 1,6/0,25
Цистерна транспортная криогенная ЦТК-1,6/0,25-I, 1979 г.в. продаётся ООО Техстал
Институт холода криотехнологий и экоэнергетики им Мартыновского В
2. Конструкции цистерн для криогенных жидкостей
Резервуар криогенный ЦТК-1, 6/0, 25 в Нижний Новгород, Предприятие ООО"Криогенте
ЦТК и ТРЖК - транспортные криогенные установки - Описание - Газификаторы и храни
Цистерна криогенная ЦТК-2,5, купить восстановленную транспортную криогенную цист
2270788 - Емкость для криогенных топлив - PatentDB.ru
Стационарная газификационная установка СГУ-7КМ
Куплю Криогенное оборудование Б/У в Москве
КУПЛЮ БАЛЛОНЫ ПОКУПКА УТИЛИЗАЦИЯ МОДУЛЕЙ ПОЖАРОТУШЕНИЯ в Санкт-Петербурге
Кислородная цистерна ЦТК-8/0,25 ООО "Криогентех"
Купить спецтехнику Криогенная цистерна Криогенная Цистерна ЦТК-8,0-0,25 Б/У в Мо
2. Конструкции цистерн для криогенных жидкостей
Продам сгу и тржк емкость 2 тонны, б/у, в наличии. Цена: 1 000 000 ₽ в Чугуевско
Цистерна транспортная ЦТК-1,6/0,25 купить, цена: 490000 руб, объявление в раздел
Цистерна транспортная ЦТК-1,6/0,25 купить, цена: 490000 руб, объявление в раздел
Технологическая схема резервуара ЦТК-8 0,25 - Энциклопедия по машиностроению XXL
Цистерна транспортная криогенная ЦТК-1,0/0,25. Бренд
Руководителям организаций - участников национальной нанотехнологической сети
3. Принципиальная схема цистерны цтк- 1,6/0,25
Виды криогенного оборудования: что нужно потребителю? Классификация Большая куча
3. Принципиальная схема цистерны цтк- 1,6/0,25
Отзывы о "Нитрогаз" на Верхних Лихоборах, Россия, Москва, Верхнелихоборская улиц
Мобильные азотные емкости ЦТК-5/0.25
Замораживание горных пород при строительстве шахт (Индустрия/Шахты) Geologam.ru
Виды криогенного оборудования: что нужно потребителю? Классификация Большая куча
Купить продам Цистерны ЦТК -0,1/0,25 ИжКриоТехника 0,1/0,25 в Ижевске - объявлен
Продам Цистрены ЦТК - 1,6 / 0,25 - 01 с насосом - Ижевск: Продам Цистерну ЦТК -
АГУ-2М (АГУ - 7К) Ростехгаз
Цистерна кислородная ТРЖК-5М,ЦТК-5.0,25 купить, цена: 1480000 руб, объявление в
Емкость для одоранта, объемом 3 куб. м. - Чертежи, 3D Модели, Проекты, Нефть и Г
Продам ЦТК 1, 6/0, 25-1 (цена не указана) - купить в компании Псковтехгаз, ООО (
Криогенное оборудование от производителя - ТД Белокрио
Кислородный резервуар ЦТК-2, 5/0, 25;ТРЖК-8М (цена 380000) - купить в компании К
Продам цистерны криогенные ЦТК-0,5/0,25 в Москве
Купить резервуары ТРЖК-3М, продажа емкостей ТРЖК в Нижнем Новгороде
Цтк 8/0,25м
Криогенный резервуар ЦТК-8/0,25;0,25М;ТРЖК-3М купить, цена: 1790000 руб, объявле
Цистерна транспортная криогенная ЦТК-0,5/0,25. Бренд Отечественный производитель
Купить цистерну для криогенных жидкостей ЦТК-8/0,25 (8 м3) в Новосибирске - Пром
Продам ЦТК 2,5/0,25, СГУ 7К комплекс наполнения баллонов - продам.купити Продам
Цистерны транспортные для жидких кислорода, азота и аргона ЦТК (1970-1980х годов
Фотографии ЦЕНТР ТЕХНИЧЕСКОГО КОНТРОЛЯ
Купить Наземные емкости СУГ объемом 5 м3
Цтк-0.5/0.25 в Москве / Купить, узнать цену на сайте Classifieds24
ЦТК-1,6/0,25
Продам Цистерны ЦТК-0,5/0,25 - Ижевск: Проведена полная предпродажная подготовка
куплю криогенную транспортную емкость в Москве
Скачать Типовой проект 704-1-111 Альбом II. Оборудование резервуаров емкостью 5-
Купить Емкость для сжиженного газа V=5м3 и скачать

Смотрите также